Цитата:
Программируют ППЗУ следующим образом. Сначала между выводами 12 и 22, 12 и 24, 12 и 21 подключают по конденсатору ёмкостью от 10 до 1000 пФ. Устанавливают на выводах 22 и 24 напряжение питания 5 В+-5%, на входах разрешения выборки РВ3 и РВ4 - нижний уровень и высокий уровень на входах РВ1 и РВ2. В режиме программирования необходимо на адресные входы А0-А8 подать низкий уровень 0..0,5 В или высокий 3..4,5 В в соответствии с кодом адреса. Затем на выводы 22 и 24 следует подать импульсное напряжение 12,5+-0,5 В (потребляемый ток не более 500 мА) на вход РВ1 (вывод 21) - импульс амплитудой 15+-0,5 В при токе не более 300 мА. На программируемый выход 0 (выводы 9-11, 13-17) через резистор сопротивлением 300 Ом нужно подать импульс амплитудой 12,5+-0,5 В (ток не более 10 мА). На остальных выходах поддерживать низкий уровень. После этого снять программирующее напряжение с выхода, на вход РВ1 (вывод 21) подать низкий уровень, на выводы 22 и 24 - напряжение 5 В+-5%. В одном такте программируется один выход. Контроль программирования можно проводить после каждого такта или после программирования всей матрицы.
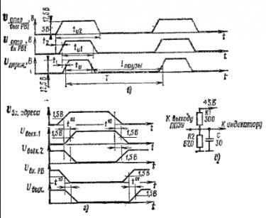
На рис. 1.18,в показана диаграмма импульсов программирования. Здесь tи - время пережигания проволочек; t1 - время опережения и сохранения импульса по входу РВ1 относительно выхода; t2 - время опережения и сохранения импульса питания относительно импульса входа РВ1; tф - время нарастания и спада tи=5..100 мс, 30 мс<=t1<=100 мс, tср<100 мкс, 0<=t2<=100 мкс, tи1=tи+2t1, tи2=tи1+2t2. Скважность импульсов равна 3..4, число программирующих импульсов - 400.
На рис. 1.18,г дана диаграмма сигналов считывания, а на рис. 1.18,д схема эквивалентной нагрузки. Если программирование ППЗУ не произошло, то цикл повторяют. После программирования для повышения надёжности записанной информации целесообразно нагреть корпус до температуры 7..125 градусов в течение 160 ч.