User Tag List

Страница 3 из 3 ПерваяПервая 123
Показано с 21 по 29 из 29

Тема: Подключение к SCART

  1. #21

    Регистрация
    26.04.2009
    Адрес
    г. Воронеж
    Сообщений
    6,504
    Спасибо Благодарностей отдано 
    333
    Спасибо Благодарностей получено 
    256
    Поблагодарили
    224 сообщений
    Mentioned
    6 Post(s)
    Tagged
    0 Thread(s)

    По умолчанию

    Цитата Сообщение от VaxCavalera Посмотреть сообщение
    чем обусловлен такой выбор?
    Что бы при добавлении контактов в линейке DIN 3/5/7/8 у "старых" нумерация не менялась (DIN 6 немного в стороне)
    "Во времена всеобщей лжи говорить правду - это экстремизм" - афоризм.

  2. #22

    Регистрация
    21.12.2015
    Адрес
    г. Ярославль
    Сообщений
    26
    Спасибо Благодарностей отдано 
    0
    Спасибо Благодарностей получено 
    0
    Поблагодарили
    0 сообщений
    Mentioned
    0 Post(s)
    Tagged
    0 Thread(s)

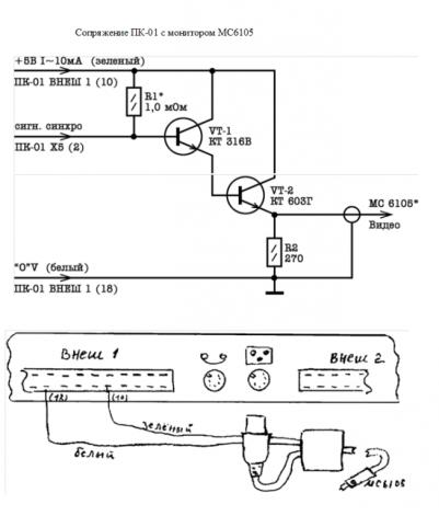
    По умолчанию Сопряжение-ПК-01-Львов-с-монитором-МС61053

    всем привет.помогите собрать кабель львов пк-1 к телевизору,монитору
    я не мастер.можно по подробнее как сделать?если можно с фото иначе не разобраться.
    за ранее спасибо
    нашел схему.но у меня руки из одного места растут.мне нужно подключить к жк телевизору через scart или s-video.или к монитору vga.

    Нажмите на изображение для увеличения. 

Название:	Сопряжение-ПК-01-Львов-с-монитором-МС61053.jpg 
Просмотров:	935 
Размер:	23.3 Кб 
ID:	55556
    Выход видео- RGB, сделано для удобства подключения к модулям цветности в советских телевизорах — сигналы RGB инвертированы.
    Как подключить «Львов» к SCART, где удобнее взять напряжение на 16 ногу?
    Взять +12, во Львове есть, через резистор 300-390 Ом выведите на разъём Львова, а в СКАРТе кинуть на 8 ногу, а между 8 и 16 ногами кинуть ещё резистор 300-390 Ом.
    Тогда будет авто переключение на SCART при включении Львова, и получите достаточное напряжение для включения входов RGB «Окно»
    Распайка шнура и таблица соединений штекера со SCART-ом
    DIN SCART
    1 8, соединить 8 и 16 с пом. 390 Ом
    2 20
    3 7
    4 11
    5 15
    6 4 (можно ещё и с 5, 9, 13)
    7 2,6

    вот что нашел.получится подключится к телику?
    Миниатюры Миниатюры Нажмите на изображение для увеличения. 

Название:	IMG_2983.jpg 
Просмотров:	477 
Размер:	48.1 Кб 
ID:	55557   Нажмите на изображение для увеличения. 

Название:	IMG_2982.jpg 
Просмотров:	430 
Размер:	60.4 Кб 
ID:	55558   Нажмите на изображение для увеличения. 

Название:	IMG_2985.jpg 
Просмотров:	416 
Размер:	50.1 Кб 
ID:	55559   Нажмите на изображение для увеличения. 

Название:	IMG_2987.jpg 
Просмотров:	434 
Размер:	43.3 Кб 
ID:	55560  
    Последний раз редактировалось marsNRG; 14.01.2016 в 03:43.

  3. #23

    Регистрация
    27.02.2005
    Адрес
    москва
    Сообщений
    14,338
    Записей в дневнике
    1
    Спасибо Благодарностей отдано 
    205
    Спасибо Благодарностей получено 
    1,497
    Поблагодарили
    974 сообщений
    Mentioned
    18 Post(s)
    Tagged
    0 Thread(s)

    По умолчанию

    Цитата Сообщение от marsNRG Посмотреть сообщение
    нашел схему
    как я понял это просто усилитель сигнала (для ч/б картинки)
    +- берётся с системного разъёма, синхра с видеоразъёма

    скорее надо смотреть сюда



    video/gnd подавай через тюльпан на видеовход (жёлтый)

    Цитата Сообщение от marsNRG Посмотреть сообщение
    у меня руки из одного места растут.мне нужно подключить к жк телевизору через scart или s-video.или к монитору vga
    как вариант дай объявление на барахолке (в разделе услуги)
    вводной информации достаточно
    Последний раз редактировалось goodboy; 14.01.2016 в 10:30.

  4. #24

    Регистрация
    16.08.2008
    Адрес
    Львов (Украина)
    Сообщений
    467
    Спасибо Благодарностей отдано 
    146
    Спасибо Благодарностей получено 
    69
    Поблагодарили
    53 сообщений
    Mentioned
    0 Post(s)
    Tagged
    0 Thread(s)

    По умолчанию

    Цитата Сообщение от marsNRG Посмотреть сообщение
    вот что нашел.получится подключится к телику?
    Эта чёрная коробочка с разъёмом SCART и тюльпанчиками не делает преобразование RGB-Composite.
    У самого такая валяется. Так что подключить компьютер через неё к телевизору, у которого только композитный вход, не получится.

  5. #25

    Регистрация
    01.02.2015
    Адрес
    г. Химки
    Сообщений
    40
    Спасибо Благодарностей отдано 
    0
    Спасибо Благодарностей получено 
    0
    Поблагодарили
    0 сообщений
    Mentioned
    0 Post(s)
    Tagged
    0 Thread(s)

    По умолчанию

    Цитата Сообщение от doorsfan Посмотреть сообщение
    Итак, просьба Максагору скопипастить это сообщение в топик темы.
    Доработка видеовыхода:
    1. К 1му выводу подвести +12 через 300 Ом
    2. К 7му выводу подвести звук от пъезокерамики через 10 КОм
    3. Выпаять 3 электролитических конденсатора с краю платы, возле ТВ гнезда
    4. Сверху на ДД62 (555ЛЛ1) напаять 555ЛЕ1 таким образом: 3, 6, 7, 8, 14 ноги садятся на ЛЛ1; 2, 5, 9 ноги подгибаются так, чтобы соединятся с соотв. 3,6,8 ногами. 11,12,13 - не используются и просто отогнуты.
    Отогнутые 1,4,10 ноги соединяются с соотв. минусовыми отверстиями выпаянных конденсаторов С54, С53, С55.

    Распайка шнура.
    4. Таблица соединений штекера со скартом
    DIN SCART
    1 8, соединить 8 и 16 с пом. 390 Ом
    2 20
    3 7
    4 11
    5 15
    6 4 (можно ещё и с 5, 9, 13)
    7 2,6

    скажите если опустить шаги 2,3,4 изображение вообще будет? просто внутрь не хочется лезть

    - - - Добавлено - - -

    и 300 ом и 10 ком какой ватности брать резисторы?

    и еще:

    в схеме по документации д62 это к155лл1 в связи с этим вопрос напаивать надо
    к555ле1 или к155ле1??
    Последний раз редактировалось VaxCavalera; 09.07.2016 в 07:18. Причина: уточнение
    zx spectrum +48k, zx spectrum +3e, amstrad cpc464 + ddi-1, yis503iiir + MFR 512k + 2sd, yis805, пк львiв, MicroVax 3100/40

  6. #26

    Регистрация
    16.12.2008
    Адрес
    Kharkov, Ukraina
    Сообщений
    2,221
    Спасибо Благодарностей отдано 
    4
    Спасибо Благодарностей получено 
    21
    Поблагодарили
    18 сообщений
    Mentioned
    1 Post(s)
    Tagged
    0 Thread(s)

    По умолчанию

    Напишите уже FAQ как работает SCART. Пусть читают. Если гугл не помог (в чем я сомневаюсь). И комп надо починить, если не работает, SCART не поможет.

    Да куда уж проще

    Проверте на выходе разъема, если внутрь лезть не охота. Сигналы адекватные? Видео-сигналу. Там кадровая, строчная и т.д. И дальше …
    Последний раз редактировалось OrionExt; 13.07.2016 в 00:09.
    Электроника КР-02, MSX YIS-503IIR, Орион-128, Ленинград-2, Pentagon-128k, MSX2 YIS-503IIIR, MSX-EXT, ...

  7. #27

    Регистрация
    01.02.2015
    Адрес
    г. Химки
    Сообщений
    40
    Спасибо Благодарностей отдано 
    0
    Спасибо Благодарностей получено 
    0
    Поблагодарили
    0 сообщений
    Mentioned
    0 Post(s)
    Tagged
    0 Thread(s)

    По умолчанию

    Здравствуйте,

    Гуру помогите пожалуйста.

    Я наконец-то решился открыть свой Львов, чтобы сделать подключение к СКАРТ

    поспрашивал людей как они делали. спасибо большое Alex_LG. очень помог . и для меня, как для новичка, очень важна была информация, что

    2. К 7му выводу подвести звук от пъезокерамики через 10 КОм
    это вывод 13 микросхемы Д29

    и мне прислали вот такую картинку

    http://i.sypp.ru/sypp/lviv/nm.jpg

    Открыв свой Львов я увидел

    http://i.sypp.ru/sypp/lviv/m1.jpg
    http://i.sypp.ru/sypp/lviv/m2.jpg

    причем мой Львов был под пломбой откуда там эти напайки если это заводская сборка. Или заводские сборки были разные? или мой Львов открывали и дорабатывали? Видно что платы сами по себе разные даже по травке. это интересно. То есть у меня получается одна из первых версий - у коллеги более доработанная без лишних "соплей" поверх платы.

    И теперь основной вопрос. Вот доработка, которая здесь описана с напайкой ЛЕ1 даст ли желаемый результат? Заработает ?

    Спасибо!
    Последний раз редактировалось VaxCavalera; 03.05.2017 в 06:42. Причина: двойной контент
    zx spectrum +48k, zx spectrum +3e, amstrad cpc464 + ddi-1, yis503iiir + MFR 512k + 2sd, yis805, пк львiв, MicroVax 3100/40

  8. #28

    Регистрация
    30.07.2013
    Адрес
    г. Запорожье, Украина
    Сообщений
    969
    Спасибо Благодарностей отдано 
    87
    Спасибо Благодарностей получено 
    148
    Поблагодарили
    78 сообщений
    Mentioned
    0 Post(s)
    Tagged
    0 Thread(s)

    По умолчанию

    Скорее всего, это какая-то промежуточная версия, поэтому это может быть заводская "работа над ошибками". Проверьте по схеме, "прозвоните" тестером.
    По поводу доработки, если правильно все сделаете - все будет работать. У других-то работает...

  9. #29

    Регистрация
    20.06.2014
    Адрес
    г. Орск, Оренбургская обл.
    Сообщений
    818
    Спасибо Благодарностей отдано 
    34
    Спасибо Благодарностей получено 
    80
    Поблагодарили
    60 сообщений
    Mentioned
    0 Post(s)
    Tagged
    0 Thread(s)

    По умолчанию

    Посмотрите здесь.
    Турбо АГАТ-9/16 (ЦП 65C802, 5 Махов, dual-port SRAM).

Страница 3 из 3 ПерваяПервая 123

Информация о теме

Пользователи, просматривающие эту тему

Эту тему просматривают: 1 (пользователей: 0 , гостей: 1)

Похожие темы

  1. Подключение Spectrum к телевизору: RGB -> SCART
    от touch-typer в разделе Изображение
    Ответов: 44
    Последнее: 28.12.2017, 13:22
  2. ZX Spectrum+3 и rgb scart подключение
    от Vitali27 в разделе Зарубежные модели
    Ответов: 66
    Последнее: 10.11.2017, 13:29
  3. Робик подключение по SCART
    от zorel в разделе Изображение
    Ответов: 9
    Последнее: 28.11.2011, 21:56
  4. Ответов: 2
    Последнее: 01.03.2011, 17:13
  5. Ответов: 10
    Последнее: 18.08.2010, 03:08

Ваши права

  • Вы не можете создавать новые темы
  • Вы не можете отвечать в темах
  • Вы не можете прикреплять вложения
  • Вы не можете редактировать свои сообщения
  •