Важная информация

User Tag List

Страница 10 из 27 ПерваяПервая ... 67891011121314 ... ПоследняяПоследняя
Показано с 91 по 100 из 263

Тема: Вектор-06Ц: Железо

  1. #91

    Регистрация
    19.12.2008
    Адрес
    Toronto
    Сообщений
    110
    Спасибо Благодарностей отдано 
    6
    Спасибо Благодарностей получено 
    0
    Поблагодарили
    0 сообщений
    Mentioned
    0 Post(s)
    Tagged
    0 Thread(s)

    По умолчанию

    Цитата Сообщение от Jons Посмотреть сообщение
    помгите плз кто нить, раскис поролон ёмкостной клавиатуры, что делать? может есть у кого лишняя герконовая?
    сваял платку пока только для чтения инфы и з ПЗУ,
    для записи не знаю пока как тайминги формировать(вычислять надо)
    порт А на чтение, порт В младший адрес, порт С старший адрес + управление ПЗУхой
    тутась почитай, там и алгоритм есть:
    http://www.geocities.com/dsaproject/...eprom_prg.html
    вот тут есть описание мелокосхемы и временные диаграммы:
    http://www.cours.polymtl.ca/ele4301/...s/NMC27C64.pdf

  2. #91
    С любовью к вам, Yandex.Direct
    Размещение рекламы на форуме способствует его дальнейшему развитию

  3. #92

    Регистрация
    27.01.2009
    Адрес
    г. Зуевка
    Сообщений
    197
    Спасибо Благодарностей отдано 
    2
    Спасибо Благодарностей получено 
    0
    Поблагодарили
    0 сообщений
    Mentioned
    0 Post(s)
    Tagged
    0 Thread(s)

    По умолчанию

    подскажите плз, распиновка AY-8-8910 и YM2149F одинаковая? или это одно и тоже? и чтоже мне с клавиатурой делать помогите плз, есть ли у кого есть лишняя герконовая?
    Вектор-06ц + PS/2 Keyboard + HDD
    ZXM Phoenix 1024 + 1024 + 2FDD + HDD + DVDCombo+VGA&PAL+NeoGS
    Дельта С, Компаньон 2, Ленинград 48
    Ремонт: Вектор 06ц, Пентагон128

  4. #93

    Регистрация
    05.08.2008
    Адрес
    Магнитогорск
    Сообщений
    989
    Спасибо Благодарностей отдано 
    25
    Спасибо Благодарностей получено 
    96
    Поблагодарили
    46 сообщений
    Mentioned
    5 Post(s)
    Tagged
    0 Thread(s)

    По умолчанию

    Цитата Сообщение от Jons Посмотреть сообщение
    подскажите плз, распиновка AY-8-8910 и YM2149F одинаковая? или это одно и тоже? и чтоже мне с клавиатурой делать помогите плз, есть ли у кого есть лишняя герконовая?
    Эти чипы не одно и тоже, но совместимы и взаимозаменяемы, хотя говорят что у них достаточно разное звучание.
    Миниатюры Миниатюры Нажмите на изображение для увеличения. 

Название:	AY-3-8910.jpg 
Просмотров:	524 
Размер:	76.4 Кб 
ID:	11959  
    Вложения Вложения
    Здесь можно скачать актуальные версии Virtual Vector (VV)

  5. #94

    Регистрация
    07.08.2008
    Адрес
    г. Уфа
    Сообщений
    8,396
    Спасибо Благодарностей отдано 
    765
    Спасибо Благодарностей получено 
    2,368
    Поблагодарили
    1,317 сообщений
    Mentioned
    39 Post(s)
    Tagged
    0 Thread(s)

    По умолчанию

    Tim0xA, только сейчас обратил внимание - на фотке с переделкой синхро видно фрагмент процессора на панельке. Это так изначально было или ты переделывал?

  6. #95

    Регистрация
    07.08.2008
    Адрес
    г. Уфа
    Сообщений
    8,396
    Спасибо Благодарностей отдано 
    765
    Спасибо Благодарностей получено 
    2,368
    Поблагодарили
    1,317 сообщений
    Mentioned
    39 Post(s)
    Tagged
    0 Thread(s)

    По умолчанию

    И еще вопрос - это сфоткан твой рабочий вектор? Или это предыдущий, почти рабочий?

  7. #96
    Tim0xA
    Гость

    По умолчанию

    Цитата Сообщение от ivagor Посмотреть сообщение
    на фотке с переделкой синхро видно фрагмент процессора на панельке. Это так изначально было или ты переделывал?
    Это предыдущий "почти рабочий" вектор. Я в нем менял процессор.

  8. #97

    Регистрация
    18.04.2009
    Адрес
    Москва
    Сообщений
    1,657
    Спасибо Благодарностей отдано 
    208
    Спасибо Благодарностей получено 
    17
    Поблагодарили
    16 сообщений
    Mentioned
    1 Post(s)
    Tagged
    0 Thread(s)

    По умолчанию

    Подскажите пожалуйста а есть ли где либо прошивка загрузчика контролеллра fdd астраханский вариант (from dumon)

  9. #98

    Регистрация
    07.08.2008
    Адрес
    г. Уфа
    Сообщений
    8,396
    Спасибо Благодарностей отдано 
    765
    Спасибо Благодарностей получено 
    2,368
    Поблагодарили
    1,317 сообщений
    Mentioned
    39 Post(s)
    Tagged
    0 Thread(s)

    По умолчанию

    Вроде тот вариант совместим со стандартным кишиневским, поэтому должен подойти любой загрузчик, работающий с кишиневским КНГМД, например:
    "Классический"
    Tim0xA 2 Кб
    Tim0xA 32 Кб
    Центр "Байт"
    Волгоградский
    Другое дело, что от квазидиска там только 16 Кб, если установлены РУ6 (или, понятное дело, 64, если РУ5), но эти ДОСы должны работать:
    МикроДОС-28
    CP/M-39
    ДОС под квазидиск 64Кб был, но не знаю, где он.
    Последний раз редактировалось ivagor; 14.02.2013 в 18:58.

  10. #99

    Регистрация
    17.07.2013
    Адрес
    г. Курган
    Сообщений
    2,035
    Записей в дневнике
    2
    Спасибо Благодарностей отдано 
    123
    Спасибо Благодарностей получено 
    172
    Поблагодарили
    122 сообщений
    Mentioned
    1 Post(s)
    Tagged
    0 Thread(s)

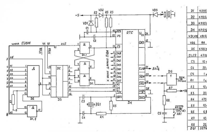
    По умолчанию Часы реального времени

    Добрый день!
    Помогите восстановить список деталей схемы часов Омского варианта.
    На принципиалке табличка с перечнем просто обрезана, может у кого осталась инфа или платка такого девайса?
    Миниатюры Миниатюры Нажмите на изображение для увеличения. 

Название:	rtc_omsk.jpg 
Просмотров:	342 
Размер:	58.6 Кб 
ID:	47946  
    С уважением, Дмитрий.
    Karabas-Go
    Pentagon-128 вер.2023+Turbo Sound+ZXM-GeneralSound
    ZXM-Phoenix 2048+Turbo Sound+ZXM-GeneralSound+ZXM-SoundCard Lite
    ZXM-Phoenix в Телеграмм

  11. #100

    Регистрация
    02.06.2009
    Адрес
    Искитим
    Сообщений
    1,275
    Спасибо Благодарностей отдано 
    16
    Спасибо Благодарностей получено 
    5
    Поблагодарили
    5 сообщений
    Mentioned
    0 Post(s)
    Tagged
    0 Thread(s)

    По умолчанию

    D1 - ЛА3
    D2 - ЛА2
    D3 - ИД4
    D4 - 512ВИ1
    D5 - 561ЛЕ5 (скорей всего)

    обвязку ВИ1 можно посмотреть по другим схемам

Страница 10 из 27 ПерваяПервая ... 67891011121314 ... ПоследняяПоследняя

Информация о теме

Пользователи, просматривающие эту тему

Эту тему просматривают: 1 (пользователей: 0 , гостей: 1)

Похожие темы

  1. Вектор-06Ц: Общие вопросы
    от CityAceE в разделе Вектор
    Ответов: 867
    Последнее: 17.10.2025, 18:38
  2. Вектор-06Ц: Эмуляция
    от ZEman в разделе Вектор
    Ответов: 1516
    Последнее: 16.10.2025, 11:13
  3. Вектор-06Ц: Altera DE1
    от svofski в разделе Вектор
    Ответов: 800
    Последнее: 23.04.2024, 16:55
  4. Вектор-06Ц
    от AlexBel в разделе Барахолка (архив)
    Ответов: 4
    Последнее: 20.12.2007, 08:23
  5. IM2, вектор прерывания
    от Jukov в разделе Программирование
    Ответов: 18
    Последнее: 20.09.2006, 09:32

Ваши права

  • Вы не можете создавать новые темы
  • Вы не можете отвечать в темах
  • Вы не можете прикреплять вложения
  • Вы не можете редактировать свои сообщения
  •