И что же в них чудного то?
Вид для печати
Какие могут быть споры при внимательном чтении букваря? У ИЕ4 вполне конкретный не меняемый коэффициент деления:
https://i.postimg.cc/cLRB7SCD/image.png
С ИЕ8 немного сложнее, но тоже всё определённо понятно:
https://i.postimg.cc/Pfv3L0W7/1.png
https://i.postimg.cc/tC0rFDD4/2.png
https://i.postimg.cc/bNQmgbFH/3.png
Не помню, есть ли аналог ИЕ8 в серии 54/74, если есть то там можно и кишки посмотреть.
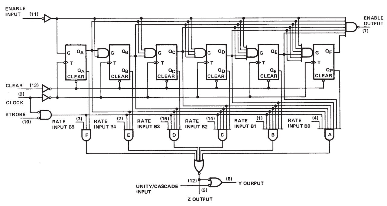
ИЕ8 не делит на 2, поэтому там не меандр. Она просто пропускает Х импульсов со входа на выход. Причём, пропуск этот не равномерный.
Ладно, ИЕ8 это 7497. Вот её внутренняя схема из букваря:
https://i.postimg.cc/D0X0K7bL/image.png
Просто не шибко они ходовые, да и коэффициенты деления так сказать не совсем привычные.
Если ИЕ4 можно как то понять и простить - умеет только считать до 12, то вот ИЕ8 - некий черный ящик с переменным коэффициентом деления. Я пытался как то разобраться давно с ним, но что то пошло не так.
Были ли они доступные? Да. У меня их было с десяток точно, ещё в 80х. Были ли они ходовые? Тут согласен - нет. Они специфичные, под особые случаи. Я помню, когда получил их, такой читаю в букваре (у меня был справочник Шило) "програмируемые делители" - такой УРА! Читаю дальше и приуныл. А ещё у кента был справочник (в то же время), не помнб от кого, там и переплёт мягкий, так вот там прямо эпюры были нарисованы и сразу стало полностью понятно. Напомню: это были 80е (последняя четверть), т.е. информация была доступна, как минимум в технической библиотеке, где я был записан с первого класса (как только стало можно).
По маске каждого бита счётчика. Т.е., если разрешаем B5 (старший бит управления), он подключён к младшему биту счётчика, то каждый второй импульс попадёт на выход. Если разрешить B0 (младший бит управления) то на выходе будет лишь 1 бит. Так как счётчик 6 бит то база счёта 64. Отсюда выше указанная формула:
X = B5*2^5 + B4*2^4 + B3*2^3 + B2*2^2 + B1*2^1 + B0*2^0, где X - количество импульсов, пропущенных на выход, а B[5:0] - задаваемое число этих импульсов (от 1 до 64).
https://i.postimg.cc/TPR7vVKv/1-3-28.jpg