Что бы при добавлении контактов в линейке DIN 3/5/7/8 у "старых" нумерация не менялась (DIN 6 немного в стороне)
Вид для печати
всем привет.помогите собрать кабель львов пк-1 к телевизору,монитору
я не мастер.можно по подробнее как сделать?если можно с фото иначе не разобраться.
за ранее спасибо
нашел схему.но у меня руки из одного места растут.мне нужно подключить к жк телевизору через scart или s-video.или к монитору vga.
Вложение 55556
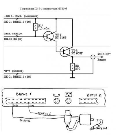
Выход видео- RGB, сделано для удобства подключения к модулям цветности в советских телевизорах — сигналы RGB инвертированы.
Как подключить «Львов» к SCART, где удобнее взять напряжение на 16 ногу?
Взять +12, во Львове есть, через резистор 300-390 Ом выведите на разъём Львова, а в СКАРТе кинуть на 8 ногу, а между 8 и 16 ногами кинуть ещё резистор 300-390 Ом.
Тогда будет авто переключение на SCART при включении Львова, и получите достаточное напряжение для включения входов RGB «Окно»
Распайка шнура и таблица соединений штекера со SCART-ом
DIN SCART
1 8, соединить 8 и 16 с пом. 390 Ом
2 20
3 7
4 11
5 15
6 4 (можно ещё и с 5, 9, 13)
7 2,6
вот что нашел.получится подключится к телику?
как я понял это просто усилитель сигнала (для ч/б картинки)
+- берётся с системного разъёма, синхра с видеоразъёма
скорее надо смотреть сюда
http://www.tis.kz/files/Lvov_Video.JPG
video/gnd подавай через тюльпан на видеовход (жёлтый)
как вариант дай объявление на барахолке (в разделе услуги)
вводной информации достаточно
http://savepic.ru/8312467.jpg
:mad:Напишите уже FAQ как работает SCART. Пусть читают. Если гугл не помог (в чем я сомневаюсь). И комп надо починить, если не работает, SCART не поможет.
Да куда уж проще:v2_smile:
Проверте на выходе разъема, если внутрь лезть не охота. Сигналы адекватные? Видео-сигналу. Там кадровая, строчная и т.д. И дальше …
Здравствуйте,
Гуру помогите пожалуйста.
Я наконец-то решился открыть свой Львов, чтобы сделать подключение к СКАРТ
поспрашивал людей как они делали. спасибо большое Alex_LG. очень помог . и для меня, как для новичка, очень важна была информация, что
это вывод 13 микросхемы Д29Цитата:
2. К 7му выводу подвести звук от пъезокерамики через 10 КОм
и мне прислали вот такую картинку
http://i.sypp.ru/sypp/lviv/nm.jpg
Открыв свой Львов я увидел
http://i.sypp.ru/sypp/lviv/m1.jpg
http://i.sypp.ru/sypp/lviv/m2.jpg
причем мой Львов был под пломбой откуда там эти напайки если это заводская сборка. Или заводские сборки были разные? или мой Львов открывали и дорабатывали? Видно что платы сами по себе разные даже по травке. :) это интересно. То есть у меня получается одна из первых версий - у коллеги более доработанная без лишних "соплей" поверх платы.
И теперь основной вопрос. Вот доработка, которая здесь описана с напайкой ЛЕ1 даст ли желаемый результат? Заработает ?
Спасибо!
Скорее всего, это какая-то промежуточная версия, поэтому это может быть заводская "работа над ошибками". Проверьте по схеме, "прозвоните" тестером.
По поводу доработки, если правильно все сделаете - все будет работать. У других-то работает... ;)
Посмотрите здесь.