User Tag List

Результаты опроса: Нужна ли плата программатора ППЗУ заводского производства?

Голосовавшие
160. Вы ещё не участвовали в этом опросе
  • Да, нужна. Я б себе купил.

    133 83.13%
  • Нет. Мне хватит платы под ЛУТ.

    27 16.88%
Страница 24 из 95 ПерваяПервая ... 202122232425262728 ... ПоследняяПоследняя
Показано с 231 по 240 из 945

Тема: Программатор ППЗУ 155РЕ3, 556РТ4 и других

  1. #231

    Регистрация
    04.03.2010
    Адрес
    Россия. Пятигорск.
    Сообщений
    2,296
    Спасибо Благодарностей отдано 
    0
    Спасибо Благодарностей получено 
    5
    Поблагодарили
    4 сообщений
    Mentioned
    0 Post(s)
    Tagged
    0 Thread(s)

    По умолчанию

    Цитата Сообщение от lisica Посмотреть сообщение
    Вы, это, сразу правильно переразведите панельку для РТ4.
    Дайте схему, последнюю, правильную. И .lay файл последней версии платы, тогда можно будет о чём-то говорить, а то у меня уже полная каша в голове от этих программаторов и их версий. Нужно начать всё сначала. Насколько я помню не шились РТ5 интересно, эту проблему победили?

  2. #232

    Регистрация
    16.09.2010
    Адрес
    г. Москва
    Сообщений
    1,951
    Спасибо Благодарностей отдано 
    81
    Спасибо Благодарностей получено 
    261
    Поблагодарили
    125 сообщений
    Mentioned
    3 Post(s)
    Tagged
    0 Thread(s)

    По умолчанию

    В любом случае, запишите меня в очередь на плату/конструктор/готовое изделие. С лета не могу ничо с РТ4 поделать А очень хочется мой второй Поиск поковырять..

  3. #233

    Регистрация
    16.12.2009
    Адрес
    Харьков
    Сообщений
    4,735
    Спасибо Благодарностей отдано 
    365
    Спасибо Благодарностей получено 
    378
    Поблагодарили
    241 сообщений
    Mentioned
    11 Post(s)
    Tagged
    1 Thread(s)

    По умолчанию

    Viktor2312, ничем не закончилось. РТ5, во всяком случае СССРовские, программатор так и не прошил. Автор оригинальной схемы программатора, Владимир Мисячный, уверял что, цитирую:
    РТ5 шил точно.
    Напряжение программирование 10, В, по моему, стандартное для импортных микросхем. Сколько нужно для отечественных, даже и не помню.
    Я не пробовал иностранные аналоги микросхемы РТ5, но в СССР прошивался только первый прошиваемый байт (последний в прошивке), остальные не шились. Было опробовано на нескольких РТ5.

    PS: perestoronin, Viktor2312 завязывайте с флудом. Для закупок и производства есть форум "Барахолка" с соответствующими разделами "Куплю" и "Новодел", просьба там обсуждать данные проблемы! Тему и так заофтопили, последние три страницы вообще ни о чём, особенно, если в производство отдавать не будете. О чем базар тогда?

    ---------- Post added at 09:55 ---------- Previous post was at 09:49 ----------

    Цитата Сообщение от perestoronin Посмотреть сообщение
    нет не олигархи, олигархами стали те у кого закупали КН6
    это не производство 1000шт. программаторов - это ЕДИНИЧНОЕ производство, о каких крупных суммах и олигархах идет речь?

    Возможно и правы, и все-таки мне интересно, почему одна м/с продается по 30 копеек, а другая по 30 рублей. Хотя нет, видел как те же, что по 50 копеек можно купить, продают и по 15 рублей. Сложная арифметка процентов и вложенных в цену издержек на яхты, наложниц и прочих непотребств приводит к цене в 30 рублей вместо 30 копеек.
    о какой разнице в цене идет речь - я специально написал сколько стоят КН6 у нас в Украине == СТОЛЬКО ЖЕ, сколько и в России! Сразу не понятно было?

    Я не спорю, возможно и не найду, тогда придется каждому кормить ещё и почту на ещё 200 рублей только лишь за одну микросхему и всего лишь 300 рублей за обработку заказа "фирме".
    EPIC FAIL!
    Profi must live!

    Моё железо...

    1. Profi 5.06/1Mb(DRAM)+Profi5.06(UP)/HDD/3`5FDD/CF512Mb/SD-CARD
    3. Profi 6.2 Rev. B/1Mb/3`5FDD/HDD3.2Gb
    4. Profi 5.05(down)/1Mb+Profi 5.03(UP)/Pentagon_Fix
    Все укомплектованы:
    Profi_ZX-BUS/ZXMC2/NemoIDE/SounDrive
    [свернуть]

    Ссылка на Telegram-канал поддержки пользователей Profi.

  4. #234

    Регистрация
    04.03.2010
    Адрес
    Россия. Пятигорск.
    Сообщений
    2,296
    Спасибо Благодарностей отдано 
    0
    Спасибо Благодарностей получено 
    5
    Поблагодарили
    4 сообщений
    Mentioned
    0 Post(s)
    Tagged
    0 Thread(s)

    По умолчанию

    Цитата Сообщение от solegstar Посмотреть сообщение
    особенно, если в производство отдавать не будете. О чем базар тогда?
    Я скорее всего буду делать платки, но собственной разработки, сначала нужно будет с теорией разобраться, что там да как, так как именно из-за РТ5 он мне и интересен. Ладно. Как будет у меня какой нибудь результат, выложу описание и сообщу о платах.

  5. #235

    Регистрация
    16.12.2009
    Адрес
    Харьков
    Сообщений
    4,735
    Спасибо Благодарностей отдано 
    365
    Спасибо Благодарностей получено 
    378
    Поблагодарили
    241 сообщений
    Mentioned
    11 Post(s)
    Tagged
    1 Thread(s)

    По умолчанию

    Viktor2312, когда я экспериментировал, то отгинал 22 ногу РТ5 и подключал её к 24, по идее это делать было не обязательно, т.к. в самой микросхеме есть диод между этими ногами, но всё же я решил кинуть перемычку, разницы не было. я не пробовал подключать 15В на 21 ногу, т.к. тогда у меня небыло этого напряжения. попробую сегодня еще разок, может что и выйдет... Собственно вот описание и алгоритм программирования - http://slava37md.narod.ru/KR556RT5.htm, возможно когда-то уже пролетала здесь.

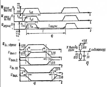
    Программируют ППЗУ следующим образом. Сначала между выводами 12 и 22, 12 и 24, 12 и 21 подключают по конденсатору ёмкостью от 10 до 1000 пФ. Устанавливают на выводах 22 и 24 напряжение питания 5 В+-5%, на входах разрешения выборки РВ3 и РВ4 - нижний уровень и высокий уровень на входах РВ1 и РВ2. В режиме программирования необходимо на адресные входы А0-А8 подать низкий уровень 0..0,5 В или высокий 3..4,5 В в соответствии с кодом адреса. Затем на выводы 22 и 24 следует подать импульсное напряжение 12,5+-0,5 В (потребляемый ток не более 500 мА) на вход РВ1 (вывод 21) - импульс амплитудой 15+-0,5 В при токе не более 300 мА. На программируемый выход 0 (выводы 9-11, 13-17) через резистор сопротивлением 300 Ом нужно подать импульс амплитудой 12,5+-0,5 В (ток не более 10 мА). На остальных выходах поддерживать низкий уровень. После этого снять программирующее напряжение с выхода, на вход РВ1 (вывод 21) подать низкий уровень, на выводы 22 и 24 - напряжение 5 В+-5%. В одном такте программируется один выход. Контроль программирования можно проводить после каждого такта или после программирования всей матрицы.

    На рис. 1.18,в показана диаграмма импульсов программирования. Здесь tи - время пережигания проволочек; t1 - время опережения и сохранения импульса по входу РВ1 относительно выхода; t2 - время опережения и сохранения импульса питания относительно импульса входа РВ1; tф - время нарастания и спада tи=5..100 мс, 30 мс<=t1<=100 мс, tср<100 мкс, 0<=t2<=100 мкс, tи1=tи+2t1, tи2=tи1+2t2. Скважность импульсов равна 3..4, число программирующих импульсов - 400.

    На рис. 1.18,г дана диаграмма сигналов считывания, а на рис. 1.18,д схема эквивалентной нагрузки. Если программирование ППЗУ не произошло, то цикл повторяют. После программирования для повышения надёжности записанной информации целесообразно нагреть корпус до температуры 7..125 градусов в течение 160 ч.
    Нажмите на изображение для увеличения. 

Название:	ris1-18vgd.jpg 
Просмотров:	553 
Размер:	19.4 Кб 
ID:	44580
    Последний раз редактировалось solegstar; 18.12.2013 в 12:53.
    Profi must live!

    Моё железо...

    1. Profi 5.06/1Mb(DRAM)+Profi5.06(UP)/HDD/3`5FDD/CF512Mb/SD-CARD
    3. Profi 6.2 Rev. B/1Mb/3`5FDD/HDD3.2Gb
    4. Profi 5.05(down)/1Mb+Profi 5.03(UP)/Pentagon_Fix
    Все укомплектованы:
    Profi_ZX-BUS/ZXMC2/NemoIDE/SounDrive
    [свернуть]

    Ссылка на Telegram-канал поддержки пользователей Profi.

  6. #236

    Регистрация
    03.07.2007
    Адрес
    Мариуполь-Киев
    Сообщений
    1,112
    Спасибо Благодарностей отдано 
    33
    Спасибо Благодарностей получено 
    15
    Поблагодарили
    14 сообщений
    Mentioned
    0 Post(s)
    Tagged
    0 Thread(s)

    По умолчанию

    Цитата Сообщение от solegstar Посмотреть сообщение
    температуры 7..125 градусов
    наверное 70-125 градусов

    Скрытый текст


    Profi 6.2 Rev.B / 1024
    Profi v5.02 /1024/палитра/FDD3,5"/FDD5,25"/HDD130/XT-Keyb/Covox
    Profi v4.00 /1024
    АТМ Turbo /512/ - собран но еще не запускался
    ATM Turbo 2+ v7.10 - собран на 80%
    Pentagon 128 - в планах восстановить (раскуроченная плата)
    ZXMC20/NemoIDE/AT-Keyb (by Caro)
    Revers U8EP3C
    Speccy2010, r2
    [свернуть]

  7. #237

    Регистрация
    16.12.2009
    Адрес
    Харьков
    Сообщений
    4,735
    Спасибо Благодарностей отдано 
    365
    Спасибо Благодарностей получено 
    378
    Поблагодарили
    241 сообщений
    Mentioned
    11 Post(s)
    Tagged
    1 Thread(s)

    По умолчанию

    Цитата Сообщение от alvis Посмотреть сообщение
    наверное 70-125 градусов
    скорее всего очепятался автор статьи.
    Profi must live!

    Моё железо...

    1. Profi 5.06/1Mb(DRAM)+Profi5.06(UP)/HDD/3`5FDD/CF512Mb/SD-CARD
    3. Profi 6.2 Rev. B/1Mb/3`5FDD/HDD3.2Gb
    4. Profi 5.05(down)/1Mb+Profi 5.03(UP)/Pentagon_Fix
    Все укомплектованы:
    Profi_ZX-BUS/ZXMC2/NemoIDE/SounDrive
    [свернуть]

    Ссылка на Telegram-канал поддержки пользователей Profi.

  8. #238

    Регистрация
    16.12.2009
    Адрес
    Харьков
    Сообщений
    4,735
    Спасибо Благодарностей отдано 
    365
    Спасибо Благодарностей получено 
    378
    Поблагодарили
    241 сообщений
    Mentioned
    11 Post(s)
    Tagged
    1 Thread(s)

    По умолчанию

    Цитата Сообщение от perestoronin Посмотреть сообщение
    Прошу заменить заодно прибалтийскую м/с КР590 на какие-нибудь отечественные или белорусские, из тех, что выпускаются.
    её заменить не получится просто так, т.к. это ОСНОВА программатора. КР590КН6 - это двунаправленный аналоговый ключ 8 в 1. именно из-за этой микросхемы программатор получился таким простым.

    Возился вчера с программатором. Так он у меня и не завелся на новой машине через LPT. Управляющие сигналы есть, а данных с LPT нет. Даже USERPORT не помог. Пришло время опробовать печатку моего адаптера под USB, который подключается к LPT-версии программатора. Anykey написал модификацию прошивки под этот адаптер уже довольно таки давно, но у меня никак не доходили руки, чтобы проверить его. Фоторезист задул на плату, сохнет, завтра вытравлю и на выходных все детали закуплю. Думаю успею проверить.
    Последний раз редактировалось solegstar; 19.12.2013 в 14:01.
    Profi must live!

    Моё железо...

    1. Profi 5.06/1Mb(DRAM)+Profi5.06(UP)/HDD/3`5FDD/CF512Mb/SD-CARD
    3. Profi 6.2 Rev. B/1Mb/3`5FDD/HDD3.2Gb
    4. Profi 5.05(down)/1Mb+Profi 5.03(UP)/Pentagon_Fix
    Все укомплектованы:
    Profi_ZX-BUS/ZXMC2/NemoIDE/SounDrive
    [свернуть]

    Ссылка на Telegram-канал поддержки пользователей Profi.

  9. #239

    Регистрация
    16.09.2010
    Адрес
    г. Москва
    Сообщений
    1,951
    Спасибо Благодарностей отдано 
    81
    Спасибо Благодарностей получено 
    261
    Поблагодарили
    125 сообщений
    Mentioned
    3 Post(s)
    Tagged
    0 Thread(s)

    По умолчанию

    Может тупость скажу, но на всякий случай - в BIOS пробовали играться с режимом LPT порта? ECP mode / Biderectional / Normal и тд?

  10. #240

    Регистрация
    16.12.2009
    Адрес
    Харьков
    Сообщений
    4,735
    Спасибо Благодарностей отдано 
    365
    Спасибо Благодарностей получено 
    378
    Поблагодарили
    241 сообщений
    Mentioned
    11 Post(s)
    Tagged
    1 Thread(s)

    По умолчанию

    Цитата Сообщение от Tronix Посмотреть сообщение
    Может тупость скажу, но на всякий случай - в BIOS пробовали играться с режимом LPT порта? ECP mode / Biderectional / Normal и тд?
    конечно. если поставить чистую виндуХР без драйверов, например GAME EDITION, то прогер работает, но как только установишь драйвера на оборудование, начинаются такие свистопляски. я вычислил проблемы с: ATI видео, wifi pcmci linksys, еще похоже и с оборудованием от intel, не знаю, видео или мать, но прогер не работает. попробую еще virtual pc, может поможет.
    Profi must live!

    Моё железо...

    1. Profi 5.06/1Mb(DRAM)+Profi5.06(UP)/HDD/3`5FDD/CF512Mb/SD-CARD
    3. Profi 6.2 Rev. B/1Mb/3`5FDD/HDD3.2Gb
    4. Profi 5.05(down)/1Mb+Profi 5.03(UP)/Pentagon_Fix
    Все укомплектованы:
    Profi_ZX-BUS/ZXMC2/NemoIDE/SounDrive
    [свернуть]

    Ссылка на Telegram-канал поддержки пользователей Profi.

Страница 24 из 95 ПерваяПервая ... 202122232425262728 ... ПоследняяПоследняя

Информация о теме

Пользователи, просматривающие эту тему

Эту тему просматривают: 1 (пользователей: 0 , гостей: 1)

Похожие темы

  1. схема программатора ппзу для бк-0010.01
    от ua4pqd в разделе БК-0010/0011
    Ответов: 3
    Последнее: 17.12.2010, 00:28
  2. Схема расширения до 128 Ленинград-1 на 556РТ4
    от Mikka_A в разделе Ленинград
    Ответов: 40
    Последнее: 21.01.2010, 03:24
  3. ППЗУ, AY и монитор - продаются
    от Cheburashka в разделе Барахолка (архив)
    Ответов: 3
    Последнее: 07.12.2009, 04:07
  4. Для ААА и других ценителей.
    от Destr в разделе Разный софт
    Ответов: 12
    Последнее: 11.05.2009, 07:30
  5. Обновление ППЗУ Scorpion
    от slaxor в разделе Scorpion
    Ответов: 6
    Последнее: 02.08.2007, 17:36

Ваши права

  • Вы не можете создавать новые темы
  • Вы не можете отвечать в темах
  • Вы не можете прикреплять вложения
  • Вы не можете редактировать свои сообщения
  •